51.
A vertical metal cylinder of radius $$2\,cm$$ and length $$2\,m$$ is fixed at the lower end and a load of $$100\,kg$$ is put on it. Find the strain. [Young's modulus of the metal $$ = 2 \times {10^{11}}N/{m^2}$$ ]
$$\eqalign{
& {\text{Strain}} = \frac{{\frac{F}{A}}}{\gamma }\& F = mg \cr
& A = \pi {r^2} \cr} $$
52.
An air bubble of radius $$1\,cm$$ rises with terminal velocity $$0.21\,cm/s$$ in liquid column. If the density of liquid is $$1.47 \times {10^3}\,kg/{m^3}.$$ Then the value of coefficient of viscosity of liquid ignoring the density of air, will be
Using the formula of the terminal velocity of a body falling through a viscous medium,
$$V = \frac{{2{r^2}\left( {\rho - \sigma } \right)}}{{9\eta }} \Rightarrow \eta = \frac{{2{r^2}\left( {\rho - \sigma } \right)g}}{{9v}}$$
Where $$\rho $$ is the density of material of body and $$\sigma $$ is the density of medium.
In case of the air bubble $$\rho = 1$$ and $$\sigma = 1.47 \times {10^3}\,kg/ms$$ and the air bubble rises up.
$$\eqalign{
& \eta = \frac{{2{r^2}\sigma g}}{{9V}} = \frac{{2 \times {{\left( {{{10}^{ - 2}}} \right)}^2} \times 1.47 \times {{10}^3} \times 9.8}}{{9 \times 0.21 \times {{10}^{ - 2}}}} \cr
& = 1.52 \times {10^3}\,{\text{decapoise}} \cr
& = 1.52 \times {10^4}\,{\text{poise}} \cr} $$
53.
A thin liquid film formed between a U-shaped wire and a light slider supports a weight of $$1.5 \times {10^{ - 2}}N$$ (see figure). The length of the slider is $$30 \,cm$$ and its weight negligible. The surface tension of the liquid film is-
54.
Three liquids of densities $${\rho _1},{\rho _2}$$ and $${\rho _3}$$ (with $${\rho _1} > {\rho _2} > {\rho _3}$$ ), having the same value of surface tension $$T,$$ rise to the same height in three identical capillaries. The angles of contact $${\theta _1},{\theta _2}$$ and $${\theta _3}$$ obey
55.
Air flows horizontally with a speed $$v = 106\,km/hr.$$ A house has plane roof of area $$A = 20\,{m^2}.$$ The magnitude of aerodynamic lift of the roof is
Air flows just above the roof and there is no air flow just below the roof inside the room. Therefore $${v_1} = 0$$ and $${v_2} = v.$$ Applying Bernaulli’s theorem at the points inside and outside the roof, we obtain.
$$\left( {\frac{1}{2}} \right)\rho v_1^2 + \rho g{h_1} + {P_1} = \left( {\frac{1}{2}} \right)\rho v_2^2 + \rho g{h_2} + {P_2}.$$
Since $${h_1} = {h_2} = h,{v_1} = 0\,{\text{and}}\,{v_2} = {v_1}$$
$${P_1} = {P_2} + \frac{1}{2}\rho {v^2} \Rightarrow {P_1} - {P_2} = \Delta P = \frac{1}{2}\rho {v^2}.$$
Since the area of the roof is $$A,$$ the aerodynamic lift exerted on it $$ = F = \left( {\Delta P} \right)A$$
$$ \Rightarrow F = \frac{1}{2}\rho A{v^2}$$
$$\eqalign{
& {\text{where}}\,\rho = {\text{density}}\,{\text{of}}\,{\text{air}} = 1.3\,kg/{m^3} \cr
& A = 20\,{m^2},v = 29.44\,m/\sec . \cr
& \Rightarrow F = \left\{ {\frac{1}{2} \times 1.3 \times 20 \times {{\left( {29.44} \right)}^2}} \right\}N \cr
& = 1.127 \times {10^4}\,N. \cr} $$
56.
The velocity of water in a river is $$18\,km/hr$$ near the surface. If the river is $$5\,m$$ deep, find the shearing stress between the horizontal layers of water. The co-efficient of viscosity of water $$ = {10^{ - 2}}{\text{poise}}{\text{.}}$$
57.
A sphere of solid material of specific gravity 8 has a concentric spherical cavity and just sinks in water. The ratio of radius of cavity to that of outer radius of the sphere must be
Let $$\rho $$ be the density of the material. $${\rho _0}$$ be the density of water when the sphere has just started sinking, the weight of the sphere = weight of water displaced (approx).
$$\eqalign{
& \Rightarrow \frac{4}{3}\pi \left( {{R^3} - {r^3}} \right)\rho g = \frac{4}{3}\pi {R^3}{\rho _0}g \cr
& \Rightarrow \left( {{R^3} - {r^3}} \right)\rho = {R^3}\rho 0 \Rightarrow \frac{{\left( {{R^3} - {r^3}} \right)}}{{{R^3}}} = \frac{{{\rho ^0}}}{\rho } \cr
& \Rightarrow \frac{r}{R} = \frac{{{{\left( 7 \right)}^{\frac{1}{3}}}}}{2} \cr} $$
58.
Which of the following is the velocity time graph of a small spherical body falling through a long columns of a viscous liquid?
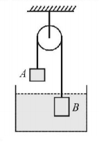
60.
In the arrangement as shown, $${m_B} = 3m,$$ density of liquid is $$r$$ and density of block $$B$$ is $$2\rho .$$ The system is released from rest so that block $$B$$ moves up when in liquid and moves down when out of liquid with the same acceleration. Find the mass of block $$A.$$