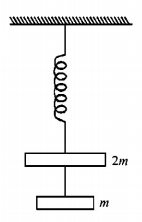
Question

The string between blocks of mass $$m$$ and $$2m$$ is massless and inextensible. The system is suspended by a massless spring as shown. If the string is cut find the magnitudes of accelerations of mass $$2m$$ and $$m$$ (immediately after cutting)
Laws of Motion mcq question image

A. g, g
B. $$g,\frac{g}{2}$$
C. $$\frac{g}{2},g$$  
D. $$\frac{g}{2},\frac{g}{2}$$
Answer :   $$\frac{g}{2},g$$
Solution :
In situation 1, the tension $$T$$ has to hold both the masses $$2m$$ and $$m$$ therefore,
$$T = 3mg$$
In situation 2, when the string is cut, the mass $$m$$ is a freely falling body and its acceleration due to gravity is $$g.$$
For mass $$2m,$$  just after the string is cut, $$T$$ remains $$3mg$$  because of the extension of string.
$$\therefore 3mg - 2mg = 2m \times a\,\,\,\,\therefore \frac{g}{2} = a$$

Releted MCQ Question on
Basic Physics >> Laws of Motion

Releted Question 1

A ship of mass $$3 \times {10^7}\,kg$$   initially at rest, is pulled by a force of $$5 \times {10^4}\,N$$   through a distance of $$3m.$$ Assuming that the resistance due to water is negligible, the speed of the ship is

A. $$1.5 m/sec.$$
B. $$60 m/sec.$$
C. $$0.1 m/sec.$$
D. $$5 m/sec.$$
Releted Question 2

The pulleys and strings shown in the figure are smooth and of negligible mass. For the system to remain in equilibrium, the angle $$\theta $$ should be
Laws of Motion mcq question image

A. $${0^ \circ }$$
B. $${30^ \circ }$$
C. $${45^ \circ }$$
D. $${60^ \circ }$$
Releted Question 3

A string of negligible mass going over a damped pulley of mass $$m$$ supports a block of mass $$M$$ as shown in the figure. The force on the pulley by the clamp is given by
Laws of Motion mcq question image

A. $$\sqrt 2 \,{\text{Mg}}$$
B. $$\sqrt 2 \,{\text{mg}}$$
C. $$\sqrt {{{\left( {M + m} \right)}^2} + {m^2}} g$$
D. $$\sqrt {{{\left( {M + m} \right)}^2} + {M^2}} g$$
Releted Question 4

The string between blocks of mass $$m$$ and $$2m$$ is massless and inextensible. The system is suspended by a massless spring as shown. If the string is cut find the magnitudes of accelerations of mass $$2m$$ and $$m$$ (immediately after cutting)
Laws of Motion mcq question image

A. g, g
B. $$g,\frac{g}{2}$$
C. $$\frac{g}{2},g$$
D. $$\frac{g}{2},\frac{g}{2}$$

Practice More Releted MCQ Question on
Laws of Motion


Practice More MCQ Question on Physics Section